.jpg)
2026年全球假期日历与海外用工指南:万领钧(Knit)深度解析美国、加拿大、德国、沙特等60+国家最新假期规定。结合2026年Qiwa合同与Mudad发薪新规,提供EOR、Payroll及工作签证等一站式合规服务。11年全球薪酬经验与华语专家支持,助您规避出海用工风险,降低运营成本,高效开启全球化布局。
2025年,所有的出海企业都开始逐步深耕海外市场本地化布局,而本地化布局的一大难点就是在海外合规用工,海外合规用工的“第一课”就是熟悉海外假期,海外假期远不止是日历上的一个标记,而是深度嵌入到本地文化、法律体系和经济活动中的关键节点。
据IMF预测,2026年全球跨境投资将增长15%。头部出海企业都在提前锁定2026年全球假期变动,一份看似简单却至关重要的文件——《2026年全球假期日历》,正是您构建稳健海外团队、实现无缝本地化运营的“隐形基石”。它不仅是日期表,更是您规避用工风险、优化运营成本、提升团队效能的战略罗盘。
为助力您的全球化布局,Knit为您精心整理并解读这份覆盖北美、欧洲、东南亚、中东等全球60+热门出海国家/地区的《2026年全球假期日历》
美国员工有权享受几种类型的假期,包括雇主批准的休假时间和国家法定节假日。美国的休假规定相对宽松,具体待遇取决于雇主的政策以及所在州的法律。是否提供带薪休假、假期的天数等都没有统一标准,更多是由雇主与员工之间的合同来决定。
美国每年有 11 个国家公共假期。以下是2026年美国国家法定节假日。

加拿大员工有权享受几种类型的假期,包括雇主批准的休假时间和国家法定节假日。加拿大的休假规定相对宽松,具体待遇取决于雇主的政策以及所在州的法律。是否提供带薪休假、假期的天数等都没有统一标准,更多是由雇主与员工之间的合同来决定。
加拿大每年有13个国家公共假期。以下是2026年加拿大国家法定节假日

在德国,法定节假日由各个联邦州(Bundeslǎnder)的政府部门制定。德国是联邦制国家,由.6个联邦州组成,每个州都有权力制定自己的法定节假日。这意味着德国的法定节假日可以因地区而异,不同的州可能会有不同的假日安排。
惠国联邦政府没有明确的权力来依法规范国家假日,根据各州的星期日和公共假日法律,全国范围内有九个公共假日受到法律保护:
以下是2026年德国国家法定节假日:

意大利员工有权享受几种类型的假期,包括雇主批准的休假时间和国家法定节假日。意大利的休假规定相对宽松,具体待遇取决于该行业CCNL的政策以及所在地区的法律。
意大利2026年将有 13 个国家公共假期。与以往的12个全国节假日不同的是,意大利议会已决定从2026年起恢复10月4日,圣方济各节作为全国节假日。以下是2026年意大利国家法定节假:

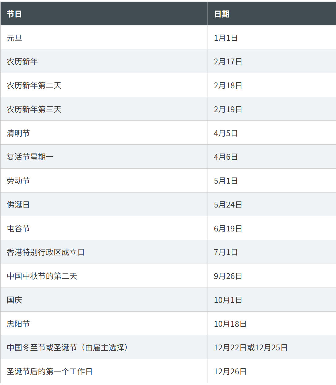
根据香港《公众假期条例》(Cap.149),公众假期旨在让整个社会(包括雇员、学生和公众)都能享受到休假,以促进工作生活平衡。这源于香港作为前英国殖民地的历史背景,继承了英国的法定假日体系(如复活节、圣诞节)。一般而言,银行、教育机构、企业、公共办事处及政府部门均须根据条例放假,确保一致性。以下是2026年中国香港国家法定节假日:

篇幅有限,更多国家最新假期规定和海外用工合规细节,可查看《全球雇佣指南》(建议收藏)
对于2026年想要布局全球市场的企业HR来说,同时管理多个国家员工,除了要及时了解海外市场的假期规定外,还需要完成海外招聘、员工签证、算薪发薪、社保税务等一系列服务,而且还要保证高效合规省成本,但这对于很多刚开始布局海外市场的企业来说,是很难完成的任务:
这些困扰这出海企业的一系列繁杂的合规事务,正是万领钧Knit People所擅长的,我们不仅能为您提供全球最新的假期日历及用工政策变动等信息,还能及时结合最新政策变动帮您高效合规开启全球化用工:
2026年的全球市场机遇,始于您2025年的战略规划。一份全球假期日历是开始,而一套完整的合规解决方案是保障。
与我们的全球化用工专家聊聊,了解我们如何助您在任意国家/地区,用更低的风险和成本,快速、合规地组建和管理您的精英团队。